Avropa 2035-ci ildə tam elektyrik mühərrikinə keçməyə hazırlaşdığı vaxtda “Porsche”nin bu addımı bir qədər təəccüblə qarşılanıb.
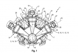
Avtosfer.az xəbər verir ki, şirkət 12 silindrli (W12) mühərrikdə silindrlər 3 cərgə yerləşir. Patent üçün təqdim edilən eskizdə aqreqatın hava ilə soyudulduğu göstərilir. Mühərrik 3 turbokompressorun və yeni qazpaylama mexanizminin sayəsində digər 12 silindrli mühərrikdən daha çox güc hasil edəcək.
Bu da bir daha göstərir ki, daxiliyanma mühərrikləri hələ son sözünü deməyib.
Vüqar
FOTO QALEREYA
